据悉,劳斯莱斯正在研发一款纯电动跨界车型,以对标宾利全新城市SUV,有外媒近日在慕尼黑拍到了该车的测试原型。这件事本身已足够引人注目,而这款车似乎还采用了复古风格的分体式引擎盖设计。

借助镜头,我们能看到引擎盖中央设有一条隆起的筋线,前端配备可伸缩的欢庆女神立标。两侧各有一块可活动盖板,开启方式看起来与后备箱盖类似,能够向上掀起。
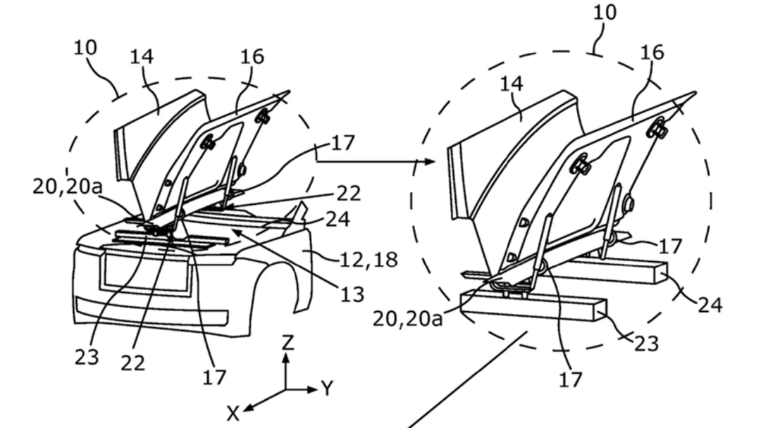
劳斯莱斯在2024年就为此设计提交了专利申请,从中也能大致看出其结构。我们还能在引擎盖前端看到疑似铰链的结构,不过放大细看,它看起来更像是一个带十字批头的钻头配件。


这款跨界车采用全封闭式格栅,顶部配有前视摄像头。格栅两侧是分体式灯组,下方大灯上带有“RR”标识。新车还配备了造型宽大、带有横向辐条的下部进气口。车辆其余部分的设计则常规得多,与现款库里南高度相似。
因此我们能看到硬朗的肩线、平直的车身侧面,搭配经典的座舱轮廓、相对扁平的车顶以及粗壮的D柱。

此外,车尾同样给人似曾相识的感觉,但这款纯电车型配备了专属后保险杠,没有预留排气口。牌照安装位也从库里南的尾门位置,改到了后保险杠上。
这些相似之处最初让我们以为这是第二代库里南。不过也有猜测认为,两款跨界车可能会在一段时间内并行销售。

尽管目前疑问远多于答案,但这款新车将沿用闪灵的技术路线。该纯电轿跑搭载102千瓦时电池组与双电机四驱系统,综合功率577马力,扭矩900Nm。
这套动力使其零百加速仅需4.4秒,WLTP续航里程530公里。未来还可能推出更高性能的Black Badge版本,功率有望达到650马力,扭矩1075Nm。

话虽如此,这款电动跨界车也有望搭载更新技术,例如新款7系上的配置。宝马近期宣布,这款旗舰轿车将搭载第六代eDrive电驱技术,其中包括能量密度提升20%的圆柱电芯锂离子电池。
我们也可以期待新车融入部分新世代平台的先进技术。